STL型水套式離心選金機是一種重力選礦設備,經實驗證明,對選別脈金礦中的單體金極為有效,可代替汞板,并為解決老尾礦中單體金的回收,提供了一種新型重選設備。另外,還可以回收砂金礦和其它金屬中的單體金。
| 型號規格 | STL19 | STL 30 | STL 60 | |
|---|---|---|---|---|
| 生產能力 | t/h | 0.25 | 2-3 | 8-12 |
| 功率 | kw | 0.75 | 1.5 | 4 |
| 給礦粒度 | mm | ≤2.5 | ≤4 | ≤6 |
| 礦漿水 | L/min | 16 | 120 | 400 |
| 反沖水 | L/min | 13-20 | 50-80 | 130-180 |
| 產出精礦 | kg/班 | 2-4 | 5-10 | 15-20 |
| 排礦周期 | h | 1-4 | 1-4 | 1-4 |
| 機重 | kg | 160 | 385 | 1000 |
| 外形尺寸 | mm | 800×560×710 | 1280×1030×1135 | 1850×1550×1500 |
注:標準給礦濃度35%、反沖水壓0.03-0.06Mpa

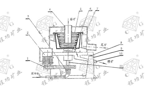
STL型水套式選金機結構示意圖
(1)皮帶傳動、(2)電動機、(3)軸套、(4)給礦管、(5)內套、(6)外套、(7)尾礦流槽、
(8)隔振裝置、(9)機架、(10)精礦排出口、(11)中空軸。
工作原理:該設備由電動機(2),經皮帶傳動(1)帶動軸(11),使內套(5)高速旋轉。礦漿經給管(4),給入內套(5),礦漿在離心力場作用下,使分選過程強化。重礦物停留在內套(5)的格槽中,輕礦物經尾礦流槽(7)排出,經一個班作業后,停機后將精礦從精礦排出口(10)排出。
1、按電動機使用要求對電動機作使用前的準備和檢查。
2、檢查設備地腳是否平穩。
3、檢查三角皮帶松緊狀態,并調整適度(出廠前試機已做調整)。
4、檢查設備運動部件有無干涉,手動盤車檢查。
5、檢查精礦排出口(10)是否關閉。
按上述5項準備檢查工作后,接通電源,啟動電動機,檢查電動機與設備要求運轉方向(設備尾礦流槽(7)外表面標有顯示的紅色箭頭)是否一致,各運動部件是否干涉后,方可接通電源,使設備進入正常運轉。
當設備進入正常運轉后,將反沖閥門打開,同時,給入按要求液固比配制的礦漿(濃度35%)。
1、按電動機的使用常規,監視其溫度及電流。
2、注意觀察各處運動部件狀況,有無異常。
3、隨時注意礦漿液固比,及時加以調整。
4、間隔一定時間,打開上蓋上的窺孔,觀察內套(5)格槽間重砂沉積情況,有無異常。
該設備正常工作每班清理一次精礦。停機前,先停止給入礦 ,然后停機,待設備停穩后,旋開精礦排出口(10)的螺塞,將精礦沖入精礦箱(自備)即可。精理精礦時間在15-20分鐘。然后,旋緊螺塞,進行下一個循環作業。
如遇特殊情況,需臨時停機,一定要先停止給礦,再停止反沖水,然后,再停機。但停機時間不宜過長,以防止時間過長,內套(5)格槽重砂板結。(如果需要停機時間較長,需清理精礦后再停機。)另外,臨時停機后再開機,一定要先給礦漿,再給反沖水,以避免金粒流失。
1、按電動機使用要求,進行周期性保養。
2、設備每班清理一次。
3、及時調整傳動皮帶,緊固松動螺栓,調整時必須停機。
STL Water-jacketed centrifugal fossick machine
STL Water-Jacketed Centrifugal Fossick Machine is a new type of gravity mineral processing device. Tests showed that the machine is very effective for separating monomer gold in vein gold deposits as replacement of mercury plate and is able to recover monomer gold in old tailings. Moreover, it can recover monomer gold in placer gold and other metals.
| Model | STL19 | STL30 | STL60 | |
| Capacity | t/h | 0.25 | 2-3 | 8-12 |
| Power | kw | 0.75 | 1.5 | 4 |
| Feed size | mm | -2.5 | 4 | 6 |
| Slurry water | L/min | 16 | 120 | 400 |
| Backwash water | L/min | 13-20 | 50-80 | 130-180 |
| Concentrate output | kg/shift | 2-4 | 5-10 | 15-20 |
| Ore delivery period | h | 1-4 | 1-4 | 1-4 |
| Weight | kg | 160 | 385 | 1000 |
| Outside dimension | mm | 800 ×560×710 | 1280×1030×1135 | 1850×1550×1500 |
Note: The standard feed concentration is 35% and the backwash water pressure 0.03-0.06Mpa.

Schematic Diagram for STL Water-Jacketed Centrifugal Fossick Machine
1. belt drive 2. motor 3. shaft sleeve 4. feed pipe 5.liner 6.jacket
7.tailing chute
8.vibration isolation device 9.machine frame 10. concentrate outlet 11.hollow shaft
The machine is operated by motor(2) via belt (10) driving draft(11)to make liner(5) rotate at a high speed. Slurries are delivered to liner (5)through feed pipe (4) and are subject to stronger process of separation under the action of centrifugal force. Heavy mineral remains in the lattice chute of liner(5) and light mineral is drained via tailing chute (7). Concentrate is discharged through outlet(10) after one shift operation and shutdown of the machine.
